-
Shopping cart is empty
-
x
For free delivery are missing
-,--
Free delivery!
Sum NET
0 €
Sum Gross
0 €
Price includes discounts
FAST PAYMENTS Przelewy24 - BLIK
0
your shopping cart
0 €
-
Shopping cart is empty
-
x
For free delivery are missing
-,--
Free delivery!
Sum NET
0 €
Sum Gross
0 €
Price includes discounts
-
Nieiskrzący skrobak z długim ostrzem, Bahco [NSB704-225]
The loyalty program is only available for logged in customers.
| Reviews | |
| Shipping within | 48 hours |
| Shipping price | The Lack Of |
| The bar code | |
| EAN | 7314150296279 |
| Leave your phone |
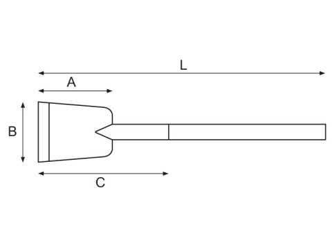
NIEISKRZĄCY SKROBAK FIRMY BAHCO O SYMBOLU [NSB704-225]:
- nieiskrzący skrobak z długim ostrzem przeznaczony do stosowania w przestrzeniach zagrożonych wybuchem, oraz wszędzie tam, gdzie zastosowanie narzędzi ze stali grozi powstaniem iskier mechanicznych zdolnych do zapalenia mieszaniny wybuchowej
- trzonek bukowy
- ostre ostrze gwarantuje oszczędność czasu
- antymagnetyczny i odporny na korozję
- kuty na zimno
PARAMETRY SKROBAKA [NSB704-225]:
- długość całkowita: 720 mm
- szerokość skrobaka - wymiar [B]: 100 mm
- długość skrobaka: 225 mm
- waga: 1010 g
- materiał: stop miedzi i berylu
Manufacturer details
SNA Europe
ANTIGUA CTRA.ALTUBE, KM 5.5
01196 VITORIA-GASTEIZ
Spain
info.pl@snaeurope.com
Responsible person
SNA Europe
ANTIGUA CTRA.ALTUBE, KM 5.5
01196 VITORIA-GASTEIZ
Spain
info.pl@snaeurope.com
There is currently no comments or ratings for this product.
