-
Кошик пустий
-
x
Безкоштовно доставки відсутні
-,--
Безкоштовна доставка!
Сума NET
0 €
Сума Валовий
0 €
У вартість включені знижки
ШВИДКІ ВИПЛАТИ Przelewy24 - BLIK
0
Ваш кошик
0 €
-
Кошик пустий
-
x
Безкоштовно доставки відсутні
-,--
Безкоштовна доставка!
Сума NET
0 €
Сума Валовий
0 €
У вартість включені знижки
-
Szczypce tnące czołowe 200 mm chromowane, BAHCO [527 GC-200]
Програма лояльності доступна лише для входу в гості.
| Відгуків | |
| Доставка в межах | 48 годин |
| Вартість доставки | Відсутність |
| Штрих-код | |
| EAN | 7314150205660 |
| Залишити свій телефон |
profesjonalne szczypce tnące czołowe chromowane firmy BAHCO model [527 GC-200]:
- kształt główki szczypiec umożliwia optymalny zakres ruchu podczas cięcia, czy wyciągania gwoździ,
- krawędzie tnące ucinaków zostały hartowane indukcyjnie,
- mają ostrze zukosowane do cięcia drutu miękkiego, twardego, bardzo twardego i piano,
- obcinaki czołowe potocznie nazywane obcęgami mają dwukomponentowe rękojeści ERGO®,
- wykonane zostały ze stali Chrome - Vanadium, zgodnie z normą DIN 5748 / ISO 5748.
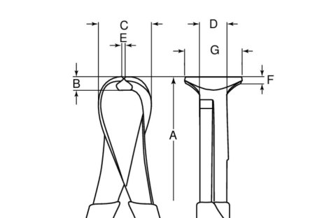
parametry obcinaków czołowych BAHCO [527 GC-200]:
- szerokość ostrzy G: 27 mm,
- zdolność cięcia drutu twardego: 2,5 mm,
- zdolność cięcia drutu o średniej twardości: 2,75 mm,
- zdolność cięcia drutu miękkiego: 4,0 mm,
- długość całkowita A: 200 mm,
- wymiar B: 7 mm,
- wymiar C: 31mm,
- wymiar D: 13 mm,
- wymiar E: 3,0 mm,
- wymiar F: 3,0 mm
- waga: 330 g,
Деталі про виробника
SNA Europe
ANTIGUA CTRA.ALTUBE, KM 5.5
01196 VITORIA-GASTEIZ
Spain
info.pl@snaeurope.com
Відповідальна особа
SNA Europe
ANTIGUA CTRA.ALTUBE, KM 5.5
01196 VITORIA-GASTEIZ
Spain
info.pl@snaeurope.com
В даний час немає коментарів або оцінки для цього продукту.
